قناة صدى البلد البلد سبورت صدى البلد جامعات صدى البلد عقارات Sada Elbalad english
عاجل
english EN
الإشراف العام
إلهام أبو الفتح
رئيس التحرير
طه جبريل
الإشراف العام
إلهام أبو الفتح
رئيس التحرير
طه جبريل

سامسونج تحدث نقلة تاريخية في عالم الهواتف القابلة للطي بجهاز جديد

هاتف سامسونج الجديد
هاتف سامسونج الجديد
2368|شيماء عبد المنعم   -  

سجلت شركة سامسونج براءة اختراع جدبدة، لجهاز جديد قد يغير مفاهيم الهواتف الذكية القابلة للطي، حيث تعتبر عملاقة التقنية الكورية صاحبة الريادة في هذا المجال منذ إصدار أول هاتف جلاكسي فولد في فبراير 2019.


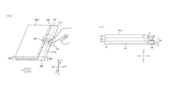
وبحسب ما ذكره موقع "gizchina"، تعتزم شركة سامسونج تطوير هاتف ذكي جديد مجهز بهيكل قابل للطي عند أكثر من مفصل، مع آلية طي مزدوجة لشاشة مرنة تتكون من ثلاثة أجزاء تنهار لتشكيل تخطيط أحادي الشكل.



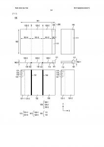
وتكشف براءة الاختراع التي سجلتها سامسونج، أن تصميم الجهاز سيكون مشابه لهاتف الشركة الحالى Galaxy Z Fold 3. ولكنه يحتوي على طبقة إضافية قابلة للطي في الجزء السفلي، وتغطي الشاشة الرئيسية القابلة للطي الطبقة الخارجية للوحة العلوية وعند إغلاقها تظهر في شكل حرف Z.

هاتف سامسونج الجديد القابل للطي

3
3
9
9
33
33
58
58
63
63
366
366

إعدادات كاميرا ثورية

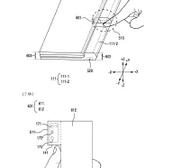
وإلى جانب التصميم المزدوج القابل للطي بثلاثة أجزاء، تكشف براءة الاختراع أيضا عن ما يبدو أنه جسر من جانب واحد، على غرار هاتف هواوي القابل للطي Mate X، وعلى ما يبدو أن هذا الجسر يستضيف منفذ USB من النوع C للشحن، يعرض النصف العلوي من هذا الجسر وحدة الكاميرا الثلاثية التي من المحتمل أن تمتد أو تنقلب خارج للخارج لتمكين وحدة الكاميرا الرئيسية الكاملة.

وعلى الرغم من التصميم الواعد والجاذبية الفريدة، من الصعب أن يكون هذا الجهاز منتجا تجاريا لشركة سامسونج، ولا يزال هناك العديد من التحديات في تصميم مثل هذا يجب تجاوزها ربما تكون المتانة أهمها.

كما سيشكل وجود المزيد من الأجزاء التي تطوي أو تتحرك على الجهاز تحديات أكبر لاستمرارية الأجهزة، وتكشف براءة الاختراع من سامسونج عن طبقتين لشاشة مزدوجة قابلة للطي، وجزء خاص بإعدادات الكاميرا والجسر الخاص بمنفذ الشحن.

وبمرور السنوات الثلاثة الماضية، أثبتت سامسونج وجودها إلى حد كبير في قطاع الهواتف الذكية القابلة للطي، والتي تمكنت من السبطرة على هذا القطاع باعتبارها الشركة الرائدة والأولى في تطوبر وإنتاج الهواتف الذكية القابلة للطي.

وتأتي شركة هواوي في المرتبة الثانية في مجال تصنيع الهواتف القابلة للطي، كما تشهد عملاقة التقنية الكورية الجنوبية منافسة قوية من الشركات الصينية، حيث أطلقت شركة أوبو مؤخرا أولى هواتفها المطوية تحت اسم اوبو فايند ان.